螺桿泵規格型號及結構圖精選
導讀:螺桿泵規格型號及結構圖 螺桿泵種類有著很大,常見的就有G系列單螺桿泵、G50-1 不銹鋼耐腐蝕螺桿泵、G20-1 不銹鋼螺桿泵、G25-2 單螺桿泵 淤泥螺桿泵等。其中不同的螺桿泵都是應用于不同的環境,而用戶若是能夠詳細的了解 螺桿泵 規格型號及結構圖 ,那么就可以很快的根據自身的實際情況來選擇出合適的水泵型號,讓水泵的性能能夠發出完全展現出來。 由于螺桿型號種類之...
螺桿泵規格型號及結構圖
螺桿泵種類有著很大,常見的就有G系列單螺桿泵、G50-1 不銹鋼耐腐蝕螺桿泵、G20-1 不銹鋼螺桿泵、G25-2 單螺桿泵 淤泥螺桿泵等。其中不同的螺桿泵都是應用于不同的環境,而用戶若是能夠詳細的了解螺桿泵規格型號及結構圖,那么就可以很快的根據自身的實際情況來選擇出合適的水泵型號,讓水泵的性能能夠發出完全展現出來。
由于螺桿型號種類之多,廠家就中挑選出其中一款螺桿泵來為大家進行簡單的講解。
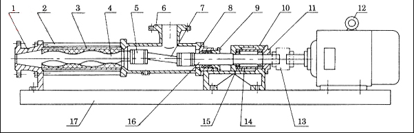
G系列單螺桿泵結構圖:


G型單螺桿泵:介質的適應性強、流量平穩、壓力脈動小。自吸能上乘,這是其它任何泵種所不能代替的。目前我單位的產品已自成一體系,壓力為0.4~1.2Mpa,可滿足廣大用戶對單螺桿泵的不同需求。
G系列單螺桿泵技術參數:流量:0-150m3/h,揚程:60-120m,功率:0.75-37kw,轉速:500-960r/min,口徑:20-135MM,溫度:-15-200℃。
綜上所述,以上就是關于螺桿泵規格型號及結構圖的簡單介紹,希望能夠幫助到大家。若是大家還想了解更多相關泵類知識,可持續關注本站,沈泉將會為大家時時更新更多相關泵類知識內容。
免責聲明:部分文章信息來源于網絡以及網友投稿,本網站只負責對文章進行整理、排版、編輯,是出于傳遞 更多信息之目的,并不意味著贊同其觀點或證實其內容的真實性,如本站文章和轉稿涉及版權等問題,請作者在及時聯系本站,我們會盡快處理。
本文標題: 螺桿泵規格型號及結構圖本文地址:http://m.meigi-henkou.com/QA/885.html
本文標題: 螺桿泵規格型號及結構圖本文地址:http://m.meigi-henkou.com/QA/885.html
技術服務
推薦產品

- ISG立式管道離心泵
上海沈泉泵閥制造有限公司為您提供:ISG立式管道離心泵的性能參數表,安裝尺

- ISW臥式管道離心泵
上海沈泉泵閥制造有限公司為您提供:ISW臥式管道離心泵的性能參數表,安裝尺

- SPG立式屏蔽管道離心泵
上海沈泉泵閥制造有限公司為您提供:SPG屏蔽管道離心泵的性能參數表,安裝尺

- CQB-L磁力立式管道離心泵
上海沈泉泵閥制造有限公司為您提供:CQB-L磁力管道離心泵的性能參數表,安裝





