G系列單螺桿泵的工作原理及規格型號參數(結構圖)精選
G系列單螺桿泵的工作原理及規格型號參數(結構圖)
相信大家對于螺桿泵也不是那么的陌生,所以今天上海沈泉水泵廠家就為大家簡單的來講解一下一些關于螺桿泵的知識,好讓大家能夠對于這款泵有一個更加清晰的了解。希望大家能夠喜歡,下面就請大家跟著小編一起來看看吧。
一、G系列單螺桿泵概述:
單螺桿泵是按迥轉嚙合容積式原理工作的新型泵種,主要工作部件是偏心螺桿(轉子)和固定的襯套(定子)。定子采用無毒無味的食用橡膠制造。
二、G系列單螺桿泵工作原理:

螺桿泵工作原理圖
螺旋泵的裝置包括原動機、變速傳動裝置和螺旋泵三部分,具體是由螺旋葉片、泵軸、軸承座和外殼組成的。螺旋泵傾斜裝在上、下水池之間,螺旋泵的下端葉片浸入到水面以下。
當泵軸旋轉時,螺旋葉片將水池中的水推入葉槽,水在螺旋的旋轉葉片作用下,沿螺旋軸一級一級往上提升,直至螺旋泵的出水口。螺旋泵只改變流體的位能,它不同于葉片式水泵將機械能轉換為輸送液體的位能和動能。
三、G系列單螺桿泵的規格型號參數:

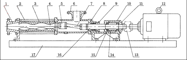
四、G系列單螺桿泵結構圖:


五、G系列單螺桿泵技術參數:
流量:0-150m3/h;
揚程:60-120m;
功率:0.75-37kw;
轉速:500-960r/min;
口徑:20-135MM;
溫度:-15-200℃。
好了,以上就是關于G系列單螺桿泵的工作原理及規格型號性能參數和結構圖的內容知識介紹,希望能夠對大家有所幫助。若是大家還想了解更多相關泵類知識,可持續關注本站,沈泉將會為大家時時更新更多相關知識內容。
本文標題: G系列單螺桿泵的工作原理及規格型號參數(結構圖)本文地址:http://m.meigi-henkou.com/QA/813.html
技術服務
推薦產品

- ISG立式管道離心泵
上海沈泉泵閥制造有限公司為您提供:ISG立式管道離心泵的性能參數表,安裝尺

- ISW臥式管道離心泵
上海沈泉泵閥制造有限公司為您提供:ISW臥式管道離心泵的性能參數表,安裝尺

- SPG立式屏蔽管道離心泵
上海沈泉泵閥制造有限公司為您提供:SPG屏蔽管道離心泵的性能參數表,安裝尺

- CQB-L磁力立式管道離心泵
上海沈泉泵閥制造有限公司為您提供:CQB-L磁力管道離心泵的性能參數表,安裝





