氟塑料合金化工離心泵_氟塑料合金泵結構圖精選
一、氟塑料合金化工離心泵產品概述
氟塑料合金化工離心泵,又稱IHF,第三代改良產品,適用于長期輸送任意濃度的強酸、堿、鹽、強氧化劑等多種腐蝕性介質,其殼體采用金屬外殼內襯聚全氟乙丙烯(FEP)及過流部件全部用塑料合金(PTFE、FEP)制成,集多種塑料泵之優點,具有耐腐蝕性強、耐磨性好、機械強度高、不老化、無毒素分解特點。在結構設計上,加粗了軸徑、縮短了懸臂比,消除了化工泵的弊病,提高了運行穩定性,降低了維修費用和運行成本,泵的進出口均采用鑄鋼體加固,以增強了泵的耐壓性。該泵具有耐腐、耐磨、耐高溫、不氧化、機械強度高、運轉平穩、結構先進合理、密封性能嚴格可靠、拆卸檢修方便、使用壽命長等優點。

二、氟塑料合金化工離心泵產品優點
①氟塑料(PTFE、FEP、PFA)是耐腐蝕材料(俗稱:塑料王),可輸送任意濃(強)度的酸、堿、氧化劑等腐蝕性介質而毫不受損。
②泵體、葉輪和泵蓋采用CFD計算機流體力學設計水力部件進行。
③IHF襯氟離心泵具有耐腐、耐高溫、不老化、機械強度高、高效節能等優點。
④臥式安裝,結構緊湊、可與標準化工離心泵互換,方便用戶更換和使用。
三、氟塑料合金化工離心泵產品用途
廣泛應用于石油、化工、制酸、制堿、冶煉、稀土、農藥、染料、醫藥、造紙、電鍍、電解、酸洗、無線電、化成箔、科研機構、G防工業等生產流程中輸送腐蝕性液體,尤其適用于強酸堿、有機容劑和貴重液體的輸送。
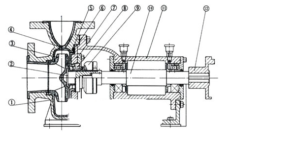
四、氟塑料合金化工離心泵結構圖以及說明

| 序號 | 名稱 | 材料 |
| 1 | 泵體 | HT200 |
| 2 | 葉輪骨架 | 45#鋼 |
| 3 | 葉輪 | 聚全氟乙丙烯 |
| 4 | 泵體襯里 | 聚全氟乙丙烯 |
| 5 | 泵蓋襯里 | 聚全氟乙丙烯 |
| 6 | 泵蓋 | HT200 |
| 7 | 機封蓋壓 | 1Cr18Ni9Ti |
| 8 | 靜環 | 99.9%氧化鋁陶瓷 |
| 9 | 動環 | 填充四氟乙烯 |
| 10 | 泵軸 | 3Cr13 |
| 11 | 軸承體 | HT200 |
| 12 | 聯軸器 | HT200 |
本文標題: 氟塑料合金化工離心泵_氟塑料合金泵結構圖本文地址:http://m.meigi-henkou.com/selection/528.html
技術服務
推薦產品

- ISG立式管道離心泵
上海沈泉泵閥制造有限公司為您提供:ISG立式管道離心泵的性能參數表,安裝尺

- ISW臥式管道離心泵
上海沈泉泵閥制造有限公司為您提供:ISW臥式管道離心泵的性能參數表,安裝尺

- SPG立式屏蔽管道離心泵
上海沈泉泵閥制造有限公司為您提供:SPG屏蔽管道離心泵的性能參數表,安裝尺

- CQB-L磁力立式管道離心泵
上海沈泉泵閥制造有限公司為您提供:CQB-L磁力管道離心泵的性能參數表,安裝





