臥式清水離心泵的結構特點及安裝注意事項精選
臥式清水離心泵的結構特點及安裝注意事項
上海品牌廠家沈泉泵閥生產制造的ISW臥式清水泵,供輸送清水及物理化學性質類似于清水的其他液體之用,適用于工業和城市給排水,高層建筑增壓送水,園林噴灌,消防增壓,遠距離輸送,暖通制冷循環、浴室等冷暖水循環增壓及設備配套,使用溫度T≤80℃。
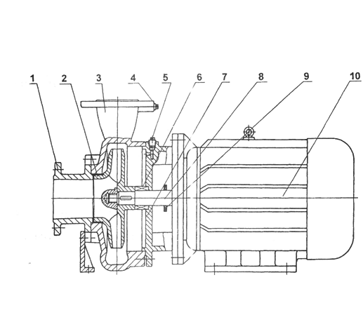
一、臥式清水離心泵結構圖:

1、吸入室:采用優秀水力模型設計而成。
2、葉 輪:采用優秀水力模型設計而成,高效節能
3、泵 體:采用優秀水力模型設計而成。
4、取壓塞:安裝壓力表及真空表,以監控泵的正常高效運行。
5、放氣塞:確保泵的正常維護。
6、機械密封:采用不銹鋼、硬質合金、氟橡膠等材料制成,耐用消費品磨損,無泄漏,運行壽命長。
7、泵 蓋:
8、泵 軸:為電機加長軸,確保了軸的同心,使運行平穩,無噪音和振動現象。
9、擋水圈:防止因密封漏水而使電機進水。
10、Y系列電動機:直接與水泵聯接傳遞動力,部分采用上海名牌電機。
二、臥式清水離心泵的特點:
運行平穩:泵軸的絕對同心度及葉輪優異的動靜平衡,保證平穩運行,絕無振動。
滴水不漏:不同材質的硬質合金密封,保證了不同介質輸送均無泄漏。
噪音低:兩個低噪音軸承支撐下的水泵,運轉平穩,除電機微弱聲響,基本無噪音。
故障率低:結構簡單合理,關鍵部分采用G家YL品質;配套,整機無故障工作時間大大提高。
維修方便:更換密封、軸承,簡易方便。
占地更省:出口可向左、向右、向上三個方向,便于管道布置安裝,節省空間。
三、臥式清水離心泵的安裝示意圖:

四、臥式清水離心泵的安裝注意事項:
1、安裝前應仔細檢查泵體流產內有無硬質物,以免運行時損壞葉輪和泵體。
2、安裝時管路理量不允許加在泵上,以免使泵變形,影響正常運行。
3、擰緊地腳螺栓,以免起動時振動對泵性能產生影響。
4、在泵的進、出口管路上安裝調節閥,在泵出口附近安裝壓力表,以控制泵在額定工況內運行,確保泵的正常使用。
5、排出管路如裝逆止閥應裝在閘閥的外面。
6、泵的安裝方式分為硬性聯接安裝和柔性聯接安裝。
好了,以上內容由上海沈泉管道離心泵廠家為大家提供,希望能夠幫助到大家。若是大家還想了解更多相關泵類知識內容,可持續關注本站,沈泉將會為大家時時更新更多相關知識內容。
本文標題: 臥式清水離心泵的結構特點及安裝注意事項本文地址:http://m.meigi-henkou.com/QA/852.html
技術服務
推薦產品

- ISG立式管道離心泵
上海沈泉泵閥制造有限公司為您提供:ISG立式管道離心泵的性能參數表,安裝尺

- ISW臥式管道離心泵
上海沈泉泵閥制造有限公司為您提供:ISW臥式管道離心泵的性能參數表,安裝尺

- SPG立式屏蔽管道離心泵
上海沈泉泵閥制造有限公司為您提供:SPG屏蔽管道離心泵的性能參數表,安裝尺

- CQB-L磁力立式管道離心泵
上海沈泉泵閥制造有限公司為您提供:CQB-L磁力管道離心泵的性能參數表,安裝





