電動隔膜泵的工作原理以及工作原理示意圖精選
電動隔膜泵是一種新型的泵類,由于在隔膜材質上取得了突破性的進展,來應用于石化、陶瓷、冶金等行業,特點是不需灌引水,自吸能力強。直接將被輸送介質和傳動機械件分開,所以介質不會向外泄漏。且泵本身無軸液封,使用壽命大大延長。應用領域:噴漆、陶瓷業中隔膜泵已占有的主導地位;環保、廢水處理、建筑、排污、精細化工中正在擴大它的市場份額,并具有其他泵不可替代的地位。
電動隔膜泵屬于容積泵,其工作原理與氣動隔膜泵工作的原理基本一樣,但是電動隔膜泵原理的區別在于動力轉換的不同。
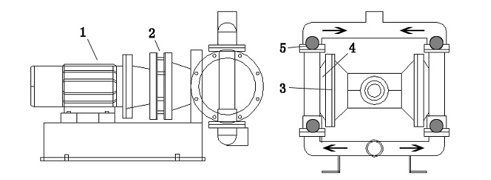
電動隔膜泵工作原理結構示意圖:

工作原理:
電機通過減速箱帶動左右兩端柱塞上面的隔膜一前一后往復運動。在左右兩個泵腔內,裝有上下四個單向球閥隔膜的運動,造成工作腔內的容積的改變,迫使四個單向球閥交替地開啟和關閉,從而將液體不斷地吸入和排出
電動隔膜泵和氣動隔膜泵工作原理的區別在于其動力源不同,電動隔膜泵動力由電機給予,所以相比之下運行更加穩定。即使加裝無G調速或者變頻調速,電動隔膜泵工作原理的往復沖程切換也是隨著偏心輪的勻速轉動自然切換;這一點是氣動隔膜泵所不能達到的。
以上內容由上海隔膜泵廠家沈泉泵閥有限公司為大家提供,希望能夠為大家帶來幫助。如還想了解更多關于隔膜泵的知識可以關注本站。
本文標題: 電動隔膜泵的工作原理以及工作原理示意圖本文地址:http://m.meigi-henkou.com/QA/611.html
技術服務
推薦產品

- ISG立式管道離心泵
上海沈泉泵閥制造有限公司為您提供:ISG立式管道離心泵的性能參數表,安裝尺

- ISW臥式管道離心泵
上海沈泉泵閥制造有限公司為您提供:ISW臥式管道離心泵的性能參數表,安裝尺

- SPG立式屏蔽管道離心泵
上海沈泉泵閥制造有限公司為您提供:SPG屏蔽管道離心泵的性能參數表,安裝尺

- CQB-L磁力立式管道離心泵
上海沈泉泵閥制造有限公司為您提供:CQB-L磁力管道離心泵的性能參數表,安裝





